VOLVO进气与排气系统进气歧管紧固螺栓的各种扭矩分别是多小沃尔沃挖掘机柴油机

进气歧管扭矩紧固螺栓24 ± 4 Nm (17.7 ± 2.95 lbf ft)M10 插塞,进气歧管20 ± 3 Nm (14.75 ± 2.21 lbf ft)

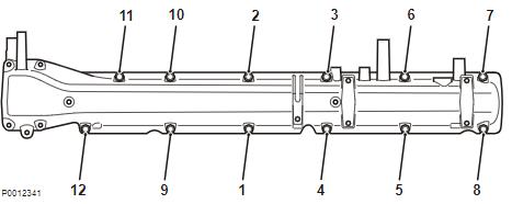
带有涡轮阀壳体的排气歧管(仅适用于 D13B-A/H 和舷内发动机 D13B-C/L, D13C4-A)步骤 1:紧固所有螺栓直至它们接触(5 ± 1.5 Nm) [3.69 ± 1.11 lbf ft]步骤 2:扭矩紧固螺栓5、8 和 6、 750 ± 4 Nm (36.9 ± 2.95 lbf ft)扭矩紧固螺栓1、4 和 9、1210 ± 1.5 Nm (7.38 ± 1.11 lbf ft)步骤 3:扭矩紧固螺栓10 和 1148 ± 4 Nm (35.4 ± 2.95 lbf ft)扭矩紧固螺栓9 和 1248 ± 4 Nm (35.4 ± 2.95 lbf ft)扭矩紧固螺栓2 和 348 ± 4 Nm (35.4 ± 2.95 lbf ft)扭矩紧固螺栓1 和 448 ± 4 Nm (35.4 ± 2.95 lbf ft)扭矩紧固螺栓5 和 850 ± 4 Nm (36.9 ± 2.95 lbf ft)扭矩紧固螺栓6 和 750 ± 4 Nm (36.9 ± 2.95 lbf ft)排气歧管(仅适用于D13B-B/D/E/F/G/J/K/M/N, D13C1-A, D13C2-A, D13C3-A和 IPS发动机D13B-C/L, D13C4-A)步骤 1:紧固所有螺栓直至它们接触(5 ± 1.5 Nm) [3.69 ± 1.11 lbf ft]步骤 2:扭矩紧固螺栓1、4 和 5、8 和 9、1210 ± 1.5 Nm (7.38 ± 1.11 lbf ft)步骤 3:扭矩紧固螺栓10 和 1148 ± 4 Nm (35.4 ± 2.95 lbf ft)扭矩紧固螺栓9 和 1248 ± 4 Nm (35.4 ± 2.95 lbf ft)扭矩紧固螺栓6 和 748 ± 4 Nm (35.4 ± 2.95 lbf ft)扭矩紧固螺栓5 和 848 ± 4 Nm (35.4 ± 2.95 lbf ft)扭矩紧固螺栓2 和 348 ± 4 Nm (35.4 ± 2.95 lbf ft)扭矩紧固螺栓1 和 448 ± 4 Nm (35.4 ± 2.95 lbf ft)03-2 技术参数,发动机47702575 01-2022 © AB VOLVO PENTA25