润滑系统机油箱油底壳机油冷却器螺栓扭矩数据沃尔沃VOLVO柴油机

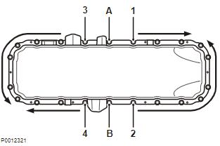
油底壳(材料:塑料)用螺栓A 和 B 紧固油底壳并将其扭转至24 ± 4 Nm (17.7 ± 2.95 lbf ft)按照上图1–4 的顺序从中心向外紧固螺栓。24 ± 4 Nm (17.7 ± 2.95 lbf ft)收尾工作是检查螺栓A 和 B 的扭矩24 ± 4 Nm (17.7 ± 2.95 lbf ft

注意 按对角顺序紧固螺栓,最后再拧紧第一个螺栓。油冷却器,连接螺栓27 ± 4 Nm (19.91 ± 2.95 lbf ft)

油冷却器盖将盖安装到发动机机体上,并将螺栓A 固定在椭圆形孔中。用安装工具向水泵壳体按压盖并安装螺栓B。检查并确认盖固定就位丟参见维修说明。安装螺栓C 和 D 并拧紧24 ± 4 Nm (17.7 ± 2.95 lbf ft)按照上图1–4 的顺序从中心向外紧固盖用螺栓。24 ± 4 Nm (17.7 ± 2.95 lbf ft)收尾工作是检查螺栓C 和 D 的扭矩24 ± 4 Nm (17.7 ± 2.95 lbf ft)03-2 技术参数,发动机47702575 01-2022 © AB VOLVO PENTA19