道依茨柴油机燃油供给系统维修
一、道依茨柴油机P型喷油泵
1、道依茨柴油机悬挂式分泵柱塞套
柱塞套9和出油阀6、出油阀座7都在凸缘套筒5内,并利用出油阀压紧座1拧紧,使它成为一个独立的组件。然后用两个螺栓将凸缘套筒固定在泵体顶端面上,形成一种悬挂式结构。在出油阀压紧座拧紧后,柱塞套仅仅是上部台肩承受压力,而进、回油孔部位都不受力,从而避免了柱塞套在进、回油处受压变形。

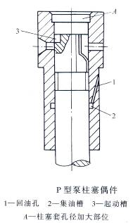
2、道依茨柴油机带起动槽和集油槽的柱塞偶件
柱塞套A处孔径略有加大,这样可防止柱塞在上部位置卡死;孔的下部开一道环形集油槽2,从柱塞偶件间隙泄漏的燃油可集于槽内,经回油孔1流回油泵的低于油腔,这样便可防止燃油漏到泵底壳稀释润滑油。为了使发动机易于起动,在柱塞顶端开有起动槽3,当柱塞处于起动位置时,该槽与柱塞套进油孔处于相对的位置,这样,只有柱塞上行到起动槽的下边缘封闭进油孔时才能开始供油,因此可将供油始点延迟。这样,可在气缸内有较高的压缩温度喷入燃油,有利于发动机起动。


3、道依茨柴油机球销龟板式油量调节机构
在控制套筒38上焊有1~2个钢球,调节拉杆28横断面呈角钢状,在其水平边上开有小方槽口,工作事方槽带动钢球和传动套使柱塞转动,从而调节供油量


4、道依茨柴油机全封闭式泵体
采有整体全封闭式泵体,不开侧视窗 ,只有上盖和下盖,以便拆装分泵总成和凸轮轴总成等零件。泵体刚度大,能承受更高的喷油压力而不变形,以适应强化柴油机的需要。

5、道依茨柴油机不可调节式滚轮传动件
滚动传动件工作高度不可调,结构简单
6、道依茨柴油机压力润滑方式
来自润滑系主油道的压力油,通过节流孔的油管经泵体上的进油孔13入滚轮传动件与泵体孔间的间隙,随后流入迸底盖和调速器壳体中。油面高度由泵体上回油孔14的位置限制,多余的润滑油由该孔经回油孔流回发动机。
二、道依茨柴油机燃油供给系
1、道依茨柴油机燃油供给系

2、道依茨柴油机单体泵供油

3、道依茨柴油机单体泵特点

三、道依茨柴油机喷油泵的驱动
1、道依茨柴油机驱动方式之一

4、道依茨柴油机联轴器结构与功用

四、道依茨柴油机喷油正时的调整原理与方法
1、道依茨柴油机喷油正时概念
在压缩行程末端,当燃烧室内空气的压力、温度基本满足柴油燃烧要求时,喷油器开启柴油进入燃烧室,从而为形成良好的混合气和燃烧过程奠定基础。即在左图的A点喷油为正时,否则为过早或过晚。但A点的位置因柴油机而变,同一柴油机因转速和温度等参数改变而变化。

2、道依茨柴油机喷油正时调整原理
改变供油时间(柱塞关闭柱塞套上的进油孔位置,即改变柱塞、柱塞套、油泵凸轮轴三者相对间位置)或者喷油器开启时间实现
ü 喷油时间由喷油泵决定者,改变供油始点实现,多用,常用;
ü 喷油时间由喷油器驱动机构决定者,如PT型燃油供给系。
道依茨柴油机单体泵的调整与维修方法
当把单体泵安装在新缸体上时,经测量计算后通过调整单体泵垫片Z的厚度TS实现。

当只换单体泵不换缸体时,只需从发动机铭牌和单体泵上读出数据,再查表就可知垫片Z的厚度TS。

4、道依茨柴油机提前角自动调节器

ü 结构:5与联轴器相联,12与5固接,飞块7一端套在销轴12上,另一端压装着销钉8,8上松套滚轮3和内座圈2,从动盘1与泵凸轮轴键接,两臂弧形侧面与滚轮接触,侧平面压在9上,9的一端支于由10固定在销轴12端头的弹簧座圈11上,1上固接有6, 6外圆面与5 外圆面相配 保证两者同轴度。

ü 道依茨柴油机工作原理:
调节器为密封体,内腔充有机油润滑。当驱动轴按图示转动时,7向外甩开,3迫使1同向转动某一角度,直到9的弹力与7的离心力相等。当转速增高时,7的离心力加大使1继续同向跟进某一角度,实现供油提前角随转速而增加,反之可减少。
柴油电喷发动机各传感器工作原理与维修,柴油机珀金斯修理故障解决,
