沃尔沃柴油发电机发动机维修保养方法
沃尔沃柴油发动机术语
• 沃尔沃柴油发动机活塞在气缸中上下移动一个行程.曲轴袖旋转一周。沃尔沃柴油发动机活塞顶端离曲轴旋转中心最远处,为上止点 ,沃尔沃柴油发动机活塞顶端离曲袖中心最近处,称为下止点。
• 上、下止点间的距离S 称为活塞行程。
沃尔沃柴油发动机压缩比
• 压缩比:沃尔沃柴油发动机气缸总容积与燃烧室容积之比称为压缩比,用ε表示
• 气缸排量:沃尔沃柴油发动机气缸工作容积的总和称为内燃机排量
压缩容积:沃尔沃柴油发动机活塞位于上止点时的气缸容积称为燃烧室容积,也称压缩容积,
沃尔沃柴油发动机的基本构成
• 往复式沃尔沃柴油发动机活塞发动机的基本构成包括2个机构和4大系统
• 1.曲柄连杆机构及机体:作用是将活塞的直线运动转化为曲轴的旋转运动
• 2.配气机构:作用是定时向气缸提供充足新鲜的空气,并将燃烧后的废气排出燃烧室。
• 3.燃油供给系:根据柴油机的工况,提供适时,适量的柴油。
• 4.润滑系:将润滑油以一定的压力提供给各摩擦面,提供润滑,带走摩擦产生的热量和金属屑。
• 5.冷却系:对发动机的高温部件得到适当的冷却,保证合适的工作温度。
• 6.启动系:为发动机的的启动提供额外动力。
• 注:电喷柴油机应当包括电控单元。
沃尔沃柴油发动机进气行程
• 沃尔沃柴油发动机活塞从上止点向下止点移动,这时在配气机构的作用下进气门打开,排气门关闭。由于活塞的下移,气缸内容积增大,压力降低,新鲜空气经滤清器、进气管不断吸人气缸。
• 进气终了气缸内的气体压力低于大气压力
沃尔沃柴油发动机压缩行程
• 沃尔沃柴油发动机活塞向上运动,阀门关闭,活塞压缩缸内存在的气体。
• ¾ 在下死点(BDC)活塞开始升高,压缩气体。实际上当进气阀关闭,或者在吸入式以及增压式发动机,当空气压力达到某一值时,才开始压缩过程。封闭的气体由于活塞向上运动被压缩。压缩压力逐渐增大,此时压缩所消耗的功主要转化为热能,燃烧气体的温度升至 700 - 900 ℃。
• ¾ 在第二个冲程结束以前,高压的燃油喷入高温加热的气体中。
沃尔沃柴油发动机做功行程
• 在完成前两个冲程后,曲轴方向发生逆转,活塞又回到上死点(T.D.C)。因为在第三个冲程中发生了能量转化,所以也称其为作功冲程。
• ¾ 点火延迟(从开始喷油到开始点火的一段时间)后,已经吸入的燃油在上死点燃烧。突然点
燃后,燃烧室没有急剧变大,很快升压升温。燃烧压力又使燃烧温度升高。
• ¾ 结束喷油(在上死点后)取决于发动机的承压状态。
• ¾ 直到此时,继续输出热量。虽然活塞向下运动,体积变大,但压力并没有急剧变小。
• ¾ 由于非常高的燃烧温度,在第一次点燃后喷入的燃油几乎不再有点火延迟。由于加热气体的体积膨胀,活塞向下死点的方向运动。
• ¾ 在活塞运动到下死点以前,排气阀打开,气缸内压力变小。
沃尔沃柴油发动机排气行程
• 沃尔沃柴油发动机活塞从下上死点(BDC)向上死点(TDC)运动,通过打开的排气阀将剩余气体压出。
• 在活塞到达上死点(TDC)以前,进气阀就已经打开。进气阀和排气阀同时打开,通过这种气门重叠打开,很好地实现了燃烧室的扫气过程。
沃尔沃柴油发动机动力性指标
• 有效转矩T:指发动机曲轴传递给飞轮的转矩。
• 有效功率P:即发动机曲轴输出功率。
• P=T X n/9550 kw
• 燃油消耗率:发动机每发出1kw在一小时内所消耗的燃油消耗量。单位为g/kwh
沃尔沃柴油发动机曲柄连杆机构
• 曲柄连杆机构的作用:
• 1.将燃烧产生的燃气力,通过连杆传递给曲轴获得转矩,对外输出功率
• 2.将直线运动转化为曲线运动
• 沃尔沃柴油发动机曲柄连杆机构的组成:
• 1. 沃尔沃柴油发动机活塞组
• 2. 沃尔沃柴油发动机连杆组
• 3. 沃尔沃柴油发动机曲轴飞轮组


沃尔沃柴油发动机活塞组
• 沃尔沃柴油发动机活塞的基本功能:
• 与沃尔沃柴油发动机气缸盖,气缸共同构成燃烧室将所承受的燃气力通过活塞销和连杆传递给曲轴
• 沃尔沃柴油发动机活塞的基本结构:
• 1. 沃尔沃柴油发动机顶部
• 2. 沃尔沃柴油发动机头部
• 3. 沃尔沃柴油发动机裙部
• 4. 沃尔沃柴油发动机活塞销座
• 对于活塞销偏置的活塞,安装时需注意安装标记。如右图B点。


沃尔沃柴油发动机活塞的顶部
• 沃尔沃柴油发动机活塞顶部的形状主要有:
平顶,凸顶,凹顶,凹坑。直喷柴油机顶部的凹坑适应形成混合气。
沃尔沃柴油发动机避阀凹坑:
为了避免气门活塞运动发生干涉,有的活塞顶部加工有避阀凹坑。

沃尔沃柴油发动机活塞头部和裙部
• 沃尔沃柴油发动机活塞头部主要指活塞的环槽以上部分。
• 沃尔沃柴油发动机活塞裙部指油环环槽以下部分,活塞裙部在工作时存在热变形和机械变形,因此冷态下将活塞加工成其断面为垂直于活塞销轴方向上的椭圆形。
• 为改善活塞裙部与气缸壁的磨合,活塞裙部作表面处理--磷化或涂石磨

沃尔沃柴油发动机活塞销
• 活塞销偏置:
• 相当多的发动机为了降低活塞与气缸撞击产生的噪声,将活塞销孔轴线向主承压面偏移1-2mm。在活塞装配时需主要活塞安装记号。
• 全浮式活塞销:
• 指在发动机工作温度下,活塞销在销套内可以自由转动,以减小磨损。


沃尔沃柴油发动机活塞环的分类
• 活塞环主要包括:
• 1.气环-密封和导热功能
• 2.油环-将飞溅在气缸壁上的润滑油均匀涂布在气缸壁上,同时具有刮油作用。
• 按气环断面形状分类
• A.矩形环 B. 锲形环 C. 正扭曲环 D。反扭曲环 E。梯形环 F。桶面环
• 注:一般活塞环上会标注安装标记。

沃尔沃柴油发动机曲轴飞轮组
• 曲轴飞轮组的组成:
• 1.曲轴
• 2.飞轮
• 3.扭转减震器
• 4.正时齿轮


沃尔沃柴油发动机曲轴
• 1.曲轴的作用:将沃尔沃柴油发动机活塞的直线运动转化为旋转运动,或者说是将活塞连杆组传来的气体压力转变为转矩对外输出。
• 2.曲轴的组成:
• -主轴颈和连杆轴颈是高速运动部件,表面经淬火处理。
• -轴颈两端与曲柄连接处为防止应力集中,加工有过渡园角。
• -为保证合适的曲轴轴向间隙,装有止推片。
• -曲拐的布置与发动机的汽缸数和气缸布局有关,应满足以下要求
• -各缸作功间隔应尽量均衡,使发动机运转平稳
• -相临作功两缸的间隔应当尽量远,减少主轴瓦的连续载荷

沃尔沃柴油发动机扭转减震器和飞轮
• 减震器的作用:
• 吸收曲轴扭转振动的能量,消减扭转振动,避免发生共振。
• 硅油减震器:当曲轴发生扭转振动时,减震体与硅油间发生内摩擦,从而消耗的扭转振动的能量,消除了扭振。所以硅油减震器在工作的时候外壳会有发热
• 飞轮:
• 1.作用:储存和释放能量来提高发动机运转的平稳性,改善发动机克服瞬时超载的能力。发动机增速时吸收部分能量,阻碍发动机增速,发动机减速时释放能量,阻碍发动机减速。
• 2.飞轮齿圈:在发动机启动时,与起动机齿轮啮合。飞轮齿圈与飞轮之间是过盈配合,安装时需加热后放入。
沃尔沃柴油发动机机体
• 机体的分类
• -隧道形机体
• 沃尔沃柴油发动机曲轴箱是一个封闭的整体, 曲轴通过正面的安装孔进行装配和拆卸。
• -分体式的曲轴箱
• 沃尔沃柴油发动机曲轴箱在曲轴平面上被分成两部分,通过轴承盖和固定螺栓将曲轴安装在机体内。为了达到较高的刚性,机体外测通常延伸至轴面以下,通过机油盘将机体下部密封起来。

沃尔沃柴油发动机气缸套的分类
• -湿式缸套:外表面与冷却液接触。湿式上部的密封用来封水,下部用来密封机油,材质不一样,不可混用

• -干式缸套:外表面不于冷却液接触

沃尔沃柴油发动机配气相位
• 用曲轴转角表示的进、排气门开闭时刻和开启持续时间,称为配气相位。
• 由于进气门早开和排气门晚关,就出现了一段进排气门同时开启的现象,称为气门叠开。同时开启的角度,即进气门早开和排气门晚关角的和,称为气门叠开角。

沃尔沃柴油发动机配气机构
• 配气机构的功用是按照发动机各缸工作过程的需要,定时地开启和关闭进、排气门。
• 配气机构的组成,按其功用都可分为气门驱动组和气门组两大部分。气门驱动组包括从正时齿轮(或链条、链轮等)开始至推动气门动作地所有零件,可定时驱动气门起闭。
• 为保证气门关闭严密,在气门杆尾端与气门驱动组零件(摇臂、挺杆或凸轮)之间留有适当的间隙,称为气门间隙。若气门间隙过小,便可能在热车时因气门杆的膨胀使此间隙消除而造成气门关闭不严;若气门间隙过大,则将影响气门的开启量,并可能在气门开启时产生较大的冲击噪声

沃尔沃柴油发动机气门驱动组
• 气门驱动组的主要机件有凸轮轴和驱动装置,包括挺杆、推杆、摇臂及摇臂轴等。
• 凸轮轴的作用是用来驱动和控制各缸气门的开启和关闭,使其符合发动机的工作顺序、配气相位及气门开度的变化规律。
• 凸轮轴的构造主要由凸轮和凸轮轴颈组成。
• 凸轮的轮廓:气门开启和关闭的持续时间必须符合配气相位的要求。凸轮的轮廓还决定了气门的最大升程和运动规律。

沃尔沃柴油发动机气门驱动组
• 沃尔沃柴油发动机挺杆的功能是将凸轮的推力传递给推杆或气门。
• 沃尔沃柴油发动机挺杆工作时旋转,从而减小工作时的摩擦力和侧向力。减小了磨损和工作中的噪声。
• 沃尔沃柴油发动机气门组零什包括:气门、气门座、气门导管、及气门弹簧等
• 沃尔沃柴油发动机气门由头部和杆部组成。头部用来密封气缸的进排气通道,杆部主要为气门的运动导向。

沃尔沃柴油发动机气门锥角
• 进气门为了获得较大的通道截面,同时由于进气门直径较大,承受气体压力时变形也大,所以一般采用30度角。
• 排气门因为热负荷较大,为加强散热和避免热变形,一般采用45度。
• 为减小进气阻力,进气门的直径往往大于排气门。
• 进气油封:进气管有一定的真空度,气门室中的润滑油通过进气门杆与导管之间的间隙被吸入进气道和气缸,增加了润滑油的消耗,采用气门油封。
• 气门座与座孔之间是过盈配合,压入时将气门座冷冻,或将气门座孔局部加热。

沃尔沃柴油发动机气门弹簧
• 沃尔沃柴油发动机气门弹簧作用是使气门自动回位关闭,并保证气门与气门座的合压力。吸收各传动零件产生的惯性力。
• 沃尔沃柴油发动机气门弹簧工作频率与自然振动频率相等或成倍数时,发生共振。导致气门反跳,落座冲击,弹簧折断,为消除共振采取以下措施:
• 提高沃尔沃柴油发动机气门弹簧的自然振动频率;
• 采用双气门弹簧;
• 采用不等螺距弹簧;不等螺距弹簧安装时,螺距小的一端应朝气门头部。

沃尔沃柴油发动机废气涡轮增压器
• 沃尔沃柴油发动机涡轮增压器是一种利用发动机排气中的剩余能量来工作的空气泵。废气驱动涡轮叶轮总成(HOT SIDE 热侧)。它与压气机叶轮(COLD SIDE 冷侧)相连接,如图。当涡轮增压器转子转动时,大量的压缩空气被送到发动机的燃烧室里。由于增加了压缩空气的重量,就可以使更多的燃油喷入到发动机里去,使发动机在尺寸不变的条件下而产生更多的功率。
• 空气经压缩后温度上升,密度下降,为提高密度,需要对压缩后的空气进行冷却。

沃尔沃柴油发动机柴油机的工作特点
• 1.压缩比大,压缩行程终了压力大(3.5-4Mpa)、温度高(750-1000K)
• 2.热效率大,燃料消耗低(比汽油低3%左右),使用成本低;
• 3.柴油机在进气行程吸入的是空气,为保证喷入的柴油能够充分燃烧,故其进气量较多,过量空气系数α>1(所谓过量空气系数是指燃烧过程中实际供给的空气质量与理论上燃料充分燃烧时所需的空气质量之比)
• 4.柴油机工作压力高,热负荷大,因此其曲柄连杆机构质量大、材料要求高。
• 5.柴油机燃烧时,因混合气形成时间短,混合不均匀,大负荷工况时燃烧的后期是在高温缺氧的情况下进行的,易产生炭烟。
• 6.柴油机排气噪声大,振动大
沃尔沃柴油发动机燃油系统的功用
• 沃尔沃柴油发动机功用:
• 沃尔沃柴油发动机燃料供给系是柴油机的一个重要部分。柴油机燃料供给系的功用是:
• 贮存燃料,对燃料进行过滤和输送;
• 根据柴油机的不同工况,将相应的燃油定时、定量、以一定压力及喷油质量喷入燃烧室,迅速形成良好的混合气并燃烧;
• 沃尔沃柴油发动机运转时,根据负荷变化调节供油量,稳定柴油机转速;
• 将燃烧后的废气排出气缸。


沃尔沃柴油发动机燃油系统的组成
• 沃尔沃柴油发动机燃料供给系由燃油供给,空气供给,混合气形成及废气排出四部分组成。
• 燃油供给:燃油供给由低压油路和高压油路两部分组成。低压油路包括:油箱、输油泵、柴油滤清器、低压油管等;高压油路包括:喷油泵、喷油器、高压油管等;
• 空气供给:由空气滤清器、进气管和气缸盖内的进气道组成;
• 混合气形成:燃烧室;
• 废气排出:由气缸盖内的排气道、排气管及排气消声器组成。


沃尔沃柴油发动机混合气的形成
• 柴油粘度大且不易蒸发,因此借助喷油装置将燃油在压缩终了稍前时刻喷入燃烧室,与进气行程中进入气缸并经压缩处于高温、高压状态的空气相混合形成可燃混合气。
• 为保证迅速形成良好的混合气,获得良好的燃烧,现代柴油机通常采取下列措施:
• 过量供给空气。柴油机的过量空气系数α一般为1.5-2.2;
• 较高的压缩比。柴油机的压缩比一般在15-22之间,以提高压缩行程终了燃烧室内空气的压力和温度;
• 较高的喷油压力。
• 组织空气运动。利用进气涡流、挤压涡流等加速油雾与空气的混合;
• 适当的燃烧室形状。柴油机形成良好混合气的方法有空间雾化混合、油膜蒸发混合及复合式;
沃尔沃柴油发动机柴油的雾化
• 空间雾化混合的基本方法是:燃料以高压、高速从喷油器中喷出,在高密度空气的摩擦阻力作用下被分裂成许多曲线,进而成为油粒。细小的油粒吸收空气的热量蒸发,并且在空气的运动下分散,增大与空气混合的范围。
• 进气涡流,利用弱涡流切向进气道或强涡流螺旋进气道,使进气行程中空气绕气缸轴线作旋转运动;
• 挤压涡流,利用活塞顶部的特殊形状,在压缩行程中和作功形成开始时,使空气在燃烧室中产生强烈的旋转运动。
沃尔沃柴油发动机柴油的燃烧过程
• 1.滞燃期
• 第一阶段为滞燃期,是从喷油始点A到燃烧点B。喷入气缸的雾化柴油在气缸内从高温空气中吸收热量,逐渐蒸发、扩散与空气混合,进行燃烧前的物理化学准备;
• 2.速燃期
• 第二阶段为速燃期,从B点起,火焰主火源迅速向各处传播,使燃烧速度迅速上升,直到到达C点所表示的最高压为止。
• 3.缓燃期
• 第三阶段为缓燃期,是从最高压力C点到最高温度D点。在这一阶段,喷油已结束。由于氧气量减少,废气增加,燃烧速度从快转慢,使热量积累,燃起温度继续升高。
• 4.后燃期
• 第四阶段为后燃期,从D点起到E点止。由于处于膨胀行程,燃烧在极不利的条件下缓慢进行,在此期间,缸内压力。温度逐渐下降。
沃尔沃柴油发动机柴油机燃烧室
• 柴油机燃烧室的种类较多,通常分为统一式(直接喷射式)和分隔式两类。
• 1.统一式燃烧室
• 采用这种燃烧室时,喷油自喷油器直接喷射到燃烧室中,借助喷出油注的形状和燃烧室形状的匹配,再加上室内空气涡流运动,迅速形成混合气。
• 2.分隔式燃烧室
• 分隔式燃烧室由两部分组成,一部分位于活塞顶与缸盖底面之间,称为主燃烧室;另一部分在气缸盖中,称为副燃烧室。两部分由一个或几个孔道相连。分隔式燃烧室底常见形式有涡流式燃烧室和预燃式燃烧室两种。
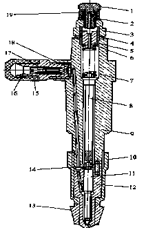
沃尔沃柴油发动机喷油器
• 沃尔沃柴油发动机喷油器是柴油机完成燃料喷射的重要部件,其功用是将燃油雾化并合理分布到燃烧室内,以便和空气混合形成可燃混合气。
• 沃尔沃柴油发动机喷油器应满足不同燃烧室对燃料喷雾特性的要求。喷油器应具有一定的喷射压力和贯穿距离,良好的雾化性能和合适的喷雾锥角;在规定的停止供油时刻应能迅速地切断燃油供给,不发生燃油滴漏现象。
• 沃尔沃柴油发动机喷油器分为开式和闭式两种。
• 闭式:闭式喷油器按喷油器地结构形式,可分为孔式和轴针式两种基本形式。喷油器地针阀和针阀体是一对精密偶件。针阀及针阀体是不能互换地高精度偶件。

沃尔沃柴油发动机喷油嘴的工作原理
• 2.喷油器下作原理
• 当沃尔沃柴油发动机工作时,来自喷油泵的高压柴油通过高
• 压油管送到喷油器、经进油管接头16、喷油器滤芯
• 17以及喷油器体9和针阀体12内的油道(图8 3)
• 进入喷油嘴内的盛油槽6(图8 4):油压作用在针
• 阀的承压锥面上.产牛向上的推力J、当此柜力推力超过调’
• 压弹簧的预紧力时,针阀升起并将喷孔打开,高压柴‘
• 油经喷孔喷入燃烧室 针阀的升起的最大高度即针阀升:
• 程,由喷油器体(或接合座)的下端面限制 当喷油
• 泵停止供油时。喷油嘴盛油槽内的油压迅速下降,针,
• 阀在调压弹簧的作用下瞬间落座,将喷孔关闭,终止o

沃尔沃柴油发动机喷油泵
• 沃尔沃柴油发动机喷油泵:
• 各缸供油顺序与发动机工作顺序相同;
• 各缸供油量均匀;
• 各缸供油提前角一致,相差不大于0.5度曲轴转角;
• 供油开始和结束要迅速干脆,避免喷油器产生滴油或不正常喷射现象。
• 大体可分为四类:柱塞式喷油泵、喷油泵-喷油器、转子分配式喷油泵和PT泵。
• 喷油泵-喷油器地特点是将喷油泵和喷油器合成一体,直接安排在气缸盖上。
• 转子分配泵依靠转子的转动实现燃油的增压和分配。

沃尔沃柴油发动机柱塞泵

沃尔沃柴油发动机转子分配泵

沃尔沃柴油发动机单体泵
• 油泵-油管-喷油器系统,由于高压油管的物理特性的限制,能达到的喷油压力一般不超过100Mpa。
• 缩短了喷油持续时间,提高了怠速和小负荷时喷油量的稳定性。
• 单体泵由凸轮轴通过挺柱驱动,结构紧凑,刚度好;
• 喷油压力可以高达1200MPa。
• 较小的安装空间;
• 高压管短,振动较小,且标准化的油管易于维修更换;
• 调整容易,维修更方便;
• 大量回流燃油具有自排气功能;
• &nb, sp; 单体泵可单独安装、拆卸、调整,换泵更容易。
• 改变滚轮传动件的高度只能调整单个分泵的供油提前角,但可用来使很多发动机的供油提前角调整一致。

沃尔沃柴油发动机润滑系统的作用
• 润滑系统的主要功用就是在内燃机1件时连续不断地把数量足够、温度适当的洁净润滑
• 油以一定的压力输送别各运动摩擦表面,并在摩擦表面形成油膜。减少摩擦阻力、降低功率
• 消耗、减轻零件的磨损,以达到提高内燃机工作可靠性和耐久件的目的。另外,润滑系统除
• 润滑作用外。还有冷却、清洗、密封和防锈作用。


沃尔沃柴油发动机润滑方式
• 发动机各部件的润滑方式主要有:
• 压力润滑 对负荷大,相对运动速度高的摩擦面,例如:主轴承、连杆轴承、凸轮轴轴承和气门摇臂轴(因位置偏高)等都利用机油泵采用润滑强度较大的压力润滑。
• 飞溅润滑 对外露表面、负荷较小的摩擦面,例如:凸轮与挺杆、偏心轮与汽油泵摇臂、活塞销与销座及连杆小头等,一般采用飞溅润滑。即依靠从主轴承和连杆轴承两侧漏甩出的润滑油和油雾来进行润滑;
• 喷油润滑 某些零部件如活塞的热负荷非常严重,将润滑油喷上活塞的底部来冷却活塞。
• 定期润滑 定期定量加注润滑油。
沃尔沃柴油发动机润滑油的特性
• 1 粘度
机油粘度对内燃机的工作有很大的影响,粘度过小、在高温、高压下容易从摩擦表向流失,不能形成足够厚度的油膜;粘度过大,冷起动困难、机油不能被机油泵送到摩擦表而机油的粘度随温度而变化,温度升高.粘度减小;温度降低,粘度增加, 为使机油在较大的温度范围内都有适当的粘度.必须在基础油中加入增稠剂。
• 2分散性
出气缸中泄露出来的气体(窜气)中的未燃烧燃油、有机酸、烟、水分、硫的氧化物、***的氧化物都会进人曲轴箱。混入润滑油中:内燃帆运行中,润滑油在高温下也会产生各种氧化物,这此产物与零件磨损产个的金属磨屑等混合在一起,将会在润滑油中形成油泥沉淀物,当这种沉淀物量少时,会悬浮于润滑油中,量大时会从润滑油中析比。引起内燃机润滑油道和滤清器堵塞、润滑油流动性下降、给油困难、活塞环槽结焦、活塞环粘着、功率下降等;因此要在润滑油中加人情净分散剂.使有害的沉淀物产润滑油中形成无害的悬浮液,
• 3.氧化安定性
氧化安定性是指机油机抗氧化作用不使其性质发生永久变化的能力:当机油在使用和储存过程中发生氧化作用时,机油的颜色变暗,粘度增大,并产生胶状沉积物,氧化变质的机油将腐蚀内燃机约零件,其至破坏内燃价的工作。
• 4 防腐性
机油在使用过程个不可避免地被氧化成各种有机酸。酸性物质对金属零件有腐蚀作用,可能使轴承表面出现斑点、麻点或使合金层剥落、为提高机油的抗腐蚀性,在机油中加入防腐添加剂。
沃尔沃柴油发动机SAE机油分类
• SAE分类:(SAE美国工程师协会分类)
• 单级机油:冬季用机油和非冬季用机油。
• 多级机油:目前使用的机油大多数具有多级粘度,称为多级机油,即同时具有含w的冬季用机油粘度等级和非冬季用机油粘度等级,两新度级号之差至少等于15。其牌号有SAE5W20,SAE10W30,SAE15W40,SAE20W40。例如SAE10W30在低温下使用时,其粘度于SAE10W相向,而在高温下,其粘度又与SAE30相同 因此一种机油可以冬夏两用。
沃尔沃柴油发动机润滑系统的组成
沃尔沃柴油发动机油压的建立装置:机油泵
沃尔沃柴油发动机机油的储存装置:油底壳,油道,油管。
沃尔沃柴油发动机机油的过滤装置:机油滤清
沃尔沃柴油发动机机油的冷却装置:机油冷却器
沃尔沃柴油发动机机油的限压装置:安全阀,限压阀
沃尔沃柴油发动机机油的指示装置:压力开关,压力传感器,压力表


沃尔沃柴油发动机曲轴箱通风
• 曲轴箱通风的目的:
• 防止润滑油变质,减小摩擦机件的磨损和腐蚀。发动机工作时,有一部分可燃气体和废气经活塞和气缸壁的间隙漏入曲轴箱内。燃油蒸汽凝结后将稀释润滑油,废气中的酸性物质和水蒸汽将将侵蚀零件和使润滑油性能变坏(稀释、老化、结胶)。
• 降压、降温、防漏。漏入曲轴箱内的气体使箱内压力和温度升高,会造成润滑油从油封、衬垫等处泄漏和变质。通风后对润滑油有一定的冷却、降压和防漏作用。
• 减小对大气的污染和对可燃气体回放。将露窜到曲轴箱内的气体再吸入气缸内燃烧,这不仅对气体中的碳氢化合物是一种回收,有利于提高发动机的经济性;同时,可以减少排气的污染。
• 曲轴箱通风的方法有两种:一是利用机械行驶和风扇所造成的气流,使与曲轴箱相连的出气管口处形成一定的真空度,从而将气体抽出曲轴外的所谓的自然通风法。二是利用发动机进气管道的真空度作用,使曲轴箱内气体被吸出而进入气缸的所谓的强制通风法


沃尔沃柴油发动机冷却系统的作用
• 冷却系统的功用是及时并适量的把在高温条件下工作的机件所吸收的热量散发到大气中去,保持内燃机在最适宜的温度下工作 冷却系统的作的好坏,对内燃机的经济性、动力性、可靠性和耐久性都有直接影响。
• 温度过高,
• 各零件的材抖、尺小都会因温度的不同而膨胀的程度不同.相互之间的正常配合间隙将被改变。
• 机油粘度大大下降.并可能发生变质,使各摩擦表面间的润滑情况恶化。运动件之间磨损加剧,机件的强度利刚度下降.造成变形和早期损坏
• 如果冷却液温度过低:
• 冷却过度,气缸内的温度过低,热量散失较多。转变为有用功的热量就减少;气缸内温度过低,燃料的雾化蒸发性能变差,混合气的形成和燃烧不好。
• 机油粘度加大,机械运转阻力增加、这些都造成内燃机的耗油量增加,功率下降 燃油在气缸壁上重新凝结,而且排气中的水蒸气和硫化物会产生业硫酸、硫酸等酸件物质。这不仅稀释了机油,使磨损加剧、而只使零件受到腐蚀:因此内燃帆应在员适宜的温度下工作。
沃尔沃柴油发动机冷却系统的组成
• 水冷却系统的组成:
• 工程机械发动机上应用最普遍的是强制循环式水冷却系,它由水泵润滑油冷却器、变速箱冷却器、节温器、缸盖、缸体、散热器进水管、水泵进水口、散热器、补液箱、风扇等构成。水泵通过水管从散热器内吸入低温水,使冷却水在发动机缸体和缸盖的水道中不停地循环流动,冷却水吸收热量后又流回散热器。风扇使空气高速流过散热器,将散热器中水地热量散发到空气中去。


沃尔沃柴油发动机节温器
• 为了控制冷却水的温度,强制循环式水冷却系一般还附有百叶窗(或挡风帘)、节温器、等冷却强度调节装置。节温器的作用是随发动机负荷和水温的大小调节水的冷却强度(路线和流量),以缩短发动机的预热时间,减少燃料的消耗和机件的磨损。
• 发动机温度较低时,节温器1关闭至水箱的水道。以D7D为例,水温低于83℃时,主阀门关闭,旁通阀门开放,冷却水只能经旁通循环管5直接流回水泵3的进水口,然后又被水泵压入水套2。此时水不流经散热器,称小循环,水流路线是节温器→小循环管→水泵→机油散热器→水套→节温器。
• 当发动机内水温升高达95℃时,主阀门全开,旁通阀全关闭,冷却水经大循环管全部流进散热器。此时,冷却强度增大,使水温不致过高。由于这时的冷却水流动路线长因而称为大循环:水箱→水泵→机油散热器→水套→节温器→大循环管。
• 当发动机内冷却液处于上述两种温度之间时,主阀门和旁通阀均部分开放,冷却水的大小循环同时存在,此时冷却液的循环称为混合循环。


沃尔沃柴油发动机控制系统

