卡特彼勒电喷发动机电子控制系统的校正
燃油系统工作: 单体喷油器机械装置:

1单体喷油器,2调整螺母,3摇臂总成,4凸轮轴,
燃油系统工作: --- 卡特彼勒电喷发动机单体喷油器:

1电磁阀,2挺杆,3柱塞,4柱塞套,5喷嘴总成,
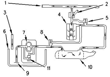
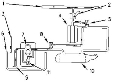
进排气系统: 卡特彼勒电喷发动机系统图:

1去发动机的进口,2后冷器芯,3进气气管,4来自增压器的排气出口,5增压器涡轮侧,6增压器压缩叶轮侧,7空气予清器,

8排气歧管,9排气门,10进气门,11空气进口,

15罐筒 – 隔膜 – 连杆 – 排泄阀,16起动杆,
在高增压压力条件下, 排泄阀开起, 使用不完的气到增压器涡轮侧. 使发动机可工作在低增压条件下.增压器中心壳是由发动机冷却液冷却的.
进排气系统: 卡特彼勒电喷发动机齿轮箱:

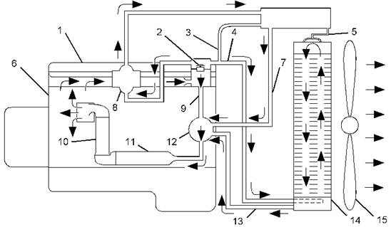
润滑系统: 卡特彼勒电喷发动机系统图:
当发动机是暖温时的油流:

当发动机是暖温时的油流:
当发动机是寒冷时的油流:

当发动机是寒冷时的油流:
1. 机油歧管
2. 油供给油路
3. 油返回油路
4. 机油滤清器
5. 机油滤旁通阀
6. 油底盘
7. 机油泵
8. 机油冷却器旁通阀
9. 吸油管路
10. 机油冷却器
11. 机油泵旁通阀
当油冷时, 在旁通阀里的油压差导致旁通阀去开起. 当有着高粘度的冷油流经机油冷却器, 和机油滤清器引起一个限流时
这些旁通阀然后提供直接润滑油到发动机所有部件.当油暖时, 在旁通阀里的油压差也导致旁通阀去关闭. 常态的油流经机油冷却器, 和机油滤清器.
当在机油冷却器和机油滤清器有限制时, 旁通阀也将开起. 这就防止了来自发动机停止润滑的一个受限制的机油滤清器
或受限制的机油冷却器.
(3)- 4: 冷却系统: 卡特彼勒电喷发动机系统图:
为一个暖温发动机的冷却系统 :

Advanced Modular Cooling System:
高比率的冷却系统
发动机装备有利用旁通管路的压力式冷却系统. 一个压力式的冷却系统有 2 大优势: 1 是冷却系统可在比水沸点高的
温度安全运作. 2 是防止水泵里的气穴现象. 加压的冷却系统防止形成在冷却系统里的空气 或蒸气空穴.
这个发动机同样为散热而利用一个高比率的冷却系统 – AMOCS. 水箱的设计是由比率的单独的 AMOCS 芯构成. 这
个设计引导来自芯底部槽的冷却液去芯顶部槽, 并再返回底部. 这个设计是在较小间隔里水箱冷却作用达到最佳.
冷却系统: 卡特彼勒电喷发动机系统图:
为一个空气压缩机的冷却液 :

为空气压缩机的冷却液从缸体经进口软管来. 从空气压缩机来的冷却液流经出口软管和返回到缸盖前端.
电气系统: 卡特彼勒电喷发动机充电系统部件 --- 发电机:
电气系统由以下单独回路构成: 充电回路, 起动回路, 和带低安培的附件.
充电回路是在发动机运转时工作. 一个发电机为充电回路产生电流. 电压调节器控制电气输出, 保持电瓶在充满中.
起动回路是在促动起动开关时的工作.
带低安培的附件回路和充电回路经电流表连接. 起动回路是不能经电流表连接.
卡特彼勒电喷发动机充电系统部件 --- 发电机:

发电机是由曲轴滑轮皮带驱动的. 这个发电机是一个三相, 自整流充电发电机. 调压器是发电机的一部分.
这个发电机的设计没有滑环或电刷, 唯一运动部分是转子总成. 全部带电导体都是静止的. 这些导体有: 励磁绕组,
定子绕组, 整流二极管及调压电路元件.
转子总成有一些指状磁极,在每个反相磁极之间有空间. 磁极含有剩磁 ( 象永久磁铁 ), 在磁极之间产生磁力线 ( 磁场 ).
当转子总成在励磁绕组和定子绕组之间开始转动, 由于磁极剩磁形成的磁力线在定子中产生小量交流电 ( AC ), 这个交
流电通过整流桥的二极管时转换成直流电 ( DC ).这电流的大部分给电瓶充电并供给低电流电路, 其余电流送到励磁绕组.
通过励磁绕组 ( 围绕铁芯的导线 ) 的直流电, 增强磁力线的强度. 这些更强的磁力线现在产生较大强度的交流电.增加转子
总成的转速也会使发电机的输出电流和电压增加.
调压器是一种固态 ( 半导体, 静止部件 ) 电子开关. 它感受系统电压, 每秒钟多次接通或断开励磁电流, ( 去励磁绕组的直
流电 )以获得所需电压输出.
卡特彼勒电喷发动机电气系统:起动系统部件 --- 起动磁力开关:
起动系统部件 --- 起动磁力开关:

.磁力开关是一个执行 2 个基本功能的电磁开关:
• 磁力开关用一个低电流起动开关回路 闭合高电流起动马达回路.
• 磁力开关使起动马达小齿轮与发动机飞轮环齿啮合.
卡特彼勒电喷发动机系统工作:
卡特彼勒电喷发动机电气系统:起动系统部件 --- 起动马达:
.起动马达:

起动马达有一个磁力开关. 当起动开关激活, 电流将流经绕组. 在电磁阀闭合电瓶与起动马达电流接通
之前, 电磁阀芯将移动推起动马达小齿轮与发动机飞轮齿圈啮合.
当电瓶和起动马达的回路接通时, 小齿轮将转动发动机飞轮. 离合器对起动马达给予保护, 发动机不能
转动起动马达太快, 当起动开关释放时, 起动马达小齿轮将从飞轮齿圈移回.
保护起动马达损坏的两种方法:
当起动马达正转动时, 保护起动马达与发动机的接合. 如果速度高于 0 RPM, 控制作用将不允许起动马
达去接合.
起动马达由于继续工作被保护. 发动机起动后, 不允许司机将钥匙开关保持在 ‘起动’ 位. 发动机速度达
到 300 RPM 后, 由起动电磁阀进行脱离来完成的.
基本发动机. (3)- 7- 1: A, B, C, D, E, F.
A.缸体总成
B.缸盖总成
C.活塞, 活塞环, 和连杆
D.曲轴
E.凸轮轴
F.减振器
4.测试和调整:
(4)- 1: 确定 1 缸压缩上止点:
|
Needed Tools | ||
|
9S-9082 |
Engine Turning Tool |
1 |

卡特彼勒电喷发动机左侧:

卡特彼勒电喷发动机右侧:
4. 放入正时螺栓的位置

使用 9S-9082 发动机 盘车工具:
5. 9S-9082 发动机盘车工具
卡特彼勒电喷发动机气门间隙的检查:

|
|
Inlet Valves |
Exhaust Valves |
|
Valve Lash (Stopped Engine) |
|
|
|
TC Compression Stroke |
1-2-4 |
1-3-5 |
|
TC Exhaust Stroke (1) |
3-5-6 |
2-4-6 |
|
Firing Order |
1-5-3-6-2-4 (2) | |
|
( 1 ) |
360° from TC compression stroke | |
|
( 2 ) |
The No. 1 cylinder is at the front of the engine. | |
卡特彼勒电喷发动机气门间隙的调整: (4)-2- 1- A: 1 缸在压缩冲程上中心:
|
TC Compression Stroke |
Inlet Valves |
Exhaust Valves |
|
Valve Lash |
|
|
|
Cylinders |
1-2-4 |
1-3-5 |
卡特彼勒电喷发动机气门间隙的调整: (4)- 2- B: 6 缸在压缩冲程上中心:
|
TC Exhaust Stroke |
Inlet Valves |
Exhaust Valves |
|
Valve Lash |
|
|
|
Cylinders |
3-5-6 |
2-4-6 |
卡特彼勒电喷发动机电子单体喷油器的调整:
|
Required Tools | ||
|
Part Number |
Part Name |
Quantity |
|
9U-7227 |
Injector Height Gauge |
1 |

卡特彼勒电喷发动机喷油器机械装置:
卡特彼勒电喷发动机气门间隙的调整: (4)-3- 1: 1 缸在压缩冲程上中心:
|
TC Compression Stroke |
Inlet Valves |
Exhaust Valves |
喷油器尺度 |
|
Valve Lash |
|
|
|
|
Cylinders |
1-2-4 |
1-3-5 |
|
|
喷油器 |
3, 5, 6. 缸 |
78. 0 +_ 0. 2 毫米 | |
卡特彼勒电喷发动机气门间隙的调整: (4)- 3- 2: 6 缸在压缩冲程上中心:
|
TC Exhaust Stroke |
Inlet Valves |
Exhaust Valves |
喷油器尺度 |
|
Valve Lash |
|
|
|
|
Cylinders |
3-5-6 |
2-4-6 |
|
|
喷油器 |
1, 2, 4. 缸 |
78. 0 +_ 0. 2 毫米 | |
喷油器的标准尺度是从喷油器顶部到喷油器体机加工凸缘处.
卡特彼勒电喷发动机静态检查前正时齿轮位置:
