卡特彼勒G3500型发动机系统操作、测试和调节
装备了卡特彼勒电子点火系统的发动机
系统操作、发动机设计
卡特彼勒3508柴油发动机

汽缸和阀门位置图
汽缸数和排列.....................................……............V-8
每个汽缸上的阀门数..................................………...4
孔径...............................................170毫米(6.7英寸)
冲程...............................................190毫米(7.5英寸)
压缩比...............................................参看发动机铭牌
燃烧方式......................................................火花点火
曲柄轴旋转方向(从飞轮端看).............逆时针方向
点火顺序..............................................1-2-7-3-4-5-6-8
阀门设定
进气.......................................0.51毫米(0.020英寸)
排气.......................................1.27毫米(0.050英寸)
注:发动机的前部与飞轮端相对。发动机的左右侧正如从飞轮端所看到的一样。1号汽缸是右侧的最前端汽缸,2号汽缸是右侧的最前端汽缸。
卡特彼勒3512柴油发动机

汽缸和阀门位置图
汽缸数和排列..............................…….................V-12
每个汽缸上的阀门数.........................………............4
孔径..............................................170毫米(6.7英寸)
冲程...............................................190毫米(7.5英寸)
压缩比...............................................参看发动机铭牌
燃烧方式............……..................................火花点火
曲柄轴旋转方向(从飞轮端看).............逆时针方向
点火顺序...........................1-12-9-4-5-8-11-2-3-10-7-6
阀门设定
进气.......................................0.51毫米(0.020英寸)
排气......................................1.27毫米(0.050英寸)
注:发动机的前部与飞轮端相对。发动机的左右侧正如从飞轮端所看到的一样。1号汽缸是右侧的最前端汽缸,2号汽缸是右侧的最前端汽缸。
卡特彼勒3516柴油发动机

汽缸和阀门位置图
汽缸数和排列..........................…….....................V-16
每个汽缸上的阀门数..………...................................4
孔径...............................................170毫米(6.7英寸)
冲程...............................................190毫米(7.5英寸)
压缩比...............................................参看发动机铭牌
燃烧方式.......................................................火花点火
曲柄轴旋转方向(从飞轮端看).............逆时针方向
点火顺序.....1-2-5-6-3-4-9-10-15-16-11-12-13-14-7-8
阀门设定
进气.......................................0.51毫米(0.020英寸)
排气.......................................1.27毫米(0.050英寸)
注:发动机的前部与飞轮端相对。发动机的左右侧正如从飞轮端所看到的一样。1号汽缸是右侧的最前端汽缸,2号汽缸是右侧的最前端汽缸。
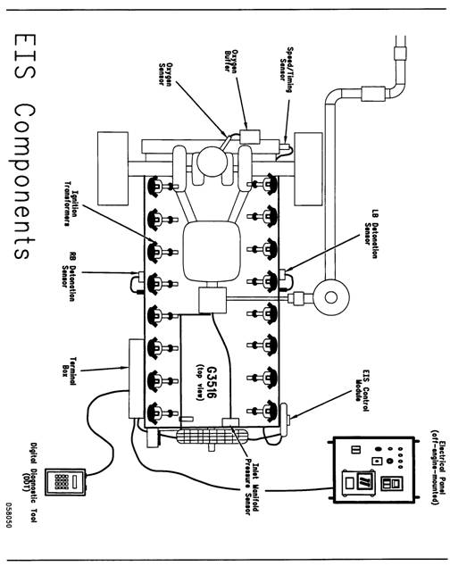
卡特彼勒柴油发动机电子点火系统


卡特彼勒部件位置图
(1)集管气压传感器(2)点火变压器(在气门套下)(3)爆燃传感器(4)电子点火控制模块(5)速度/定时传感器(6)用于速度/定时传感器的线束,卡特彼勒电子点火系统设计用来替代传统的永磁发电机点火系统。电子点火系统去除了永磁发电机和用来受制于机械磨损的部件,同时还具备对故障的诊断和排除能力。电子点火系统使用一套控制模块来进行许多使用的操作,并适用于许多发动机型号。该能力是通过允许操作者随时改变关键参数而实现的。这些可编程参数的改变可以参照用户特定参数一章,且参数的设置和改变必须使用数字诊断工具进行。这些编入系统的数值被储存在电子点火系统控制模块存储器中。这样就可以保证操作者可以仅使用单一的服务工具即可改变点火系统的操作。数字诊断服务工具是用来编排用户特定参数、监控发动机状态并显示发动机诊断的数据。数字诊断工具能够监控发动机速度、发动机定时和爆燃水平。如欲获得附加的编程参数和故障诊断码,请参看SENR6413,G3500发动机电子故障诊断部分。电子点火系统控制模块还有能力诊断并储存系统问题以及潜在的变压器二次回路问题。当模块察觉到有问题存在后,模块将生成诊断码并能在数字诊断工具上显示。电子点火系统能够对发动机操作和分配功率到汽缸变压器的过程进行监控,并为发动机在所有速度下运行提供最好的发动机性能。它还可以保护发动机免于遭受爆燃的损坏。在规定限值内,发动机定时(延迟)的控制可以无限次的进行。
电子点火系统能为每个汽缸提供爆燃保护和精确的火花控制。当爆燃发生时,电子点火系统的定时系统为了避免发动机受损,可以进行必要的多次长时间的延迟以控制爆燃程度。电子点火系统可以实现改进运行、经济、低排放水平。系统包括三个最基本的部分:控制模块、点火变压器和传感器。
卡特彼勒柴油发动机控制模块(电子点火系统)

卡特彼勒柴油发动机点火系统部件示意图
(1)火花塞(2)点火变压器(3)阀盖(4)线束(5)电子点火系统控制模块,
电子点火系统控制模块(5)是一个装有非耐用部件的密封体。控制模块通过一系列的传感器对发动机运转进行监控。传感器通过通向汽缸组内部的线束(4)与模块相连。控制模块根据传感器的资料输入和控制面板的设定来决定点火定时。控制模块能够提供系统诊断,并能为点火变压器(2)增压以点燃火花塞(1)提供电压。阀盖(3)主要作用是作为点火变压器的接地。
发动机定时的控制通过电子点火系统控制模块来实现。它基于发动机定时预期值、用户特定参数(由操作者编程)和发动机运转的情况来确定。发动机操作者可以使用电子诊断工具来更改最大提早定时、速度定时表和负载定时表。电子点火系统控制模块将根据发动机运转的条件,依照发动机转速/定时传感器、集管气压传感器和爆燃传感器的信息来自动调节发动机转速。
电子点火系统控制模块最多可以向点火变压器提供16条点火输出,还可以使用其传感器和内部回路来监控系统部件。如果在系统部件或线束内发现故障,控制模块能够对故障作出判断并通过诊断码通报操作者。
卡特彼勒柴油发动机点火变压器
每个汽缸都有一个点火变压器,变压器位于汽缸的阀盖下面。电子点火系统控制模块向点火变压器的原线圈发送脉冲来让每个汽缸的开始燃烧。于是变压器开始增压以产生穿过火花塞间隙的电弧。于是,通过电弧产生的火花点燃汽缸内的气体。在装备了电子点火系统的发动机里,汽缸阀盖充当点火变压器的接地。因此如果汽缸的阀盖在工作时被拿开,必须小心谨慎。当阀盖被移除时,必须小心断开连接变压器的原始导线。
点火配线用来连接电子点火系统控制模块到单个点火变压器。点火配线通向凸轮轴旁边的发动机。
卡特彼勒柴油发动机传感器
发动机传感器向电子点火系统控制模块提供信息,这样可以使控制模块能够在更宽的操作范围内尽可能方便的控制发动机。
卡特彼勒柴油发动机爆燃传感器
爆燃传感器(左手爆燃传感器和右手爆燃传感器)可以监控发动机的过大爆燃(震动)。在每个汽缸边的中间位置都安置了一个传感器。传感器可以产生与发动机爆燃相同比例的电压信号。电点火系统控制模块将根据这些信息确定爆燃的级别,并根据需要改变发动机转速。
卡特彼勒柴油发动机速度/定时传感器
速度/定时传感器为控制模块提供精确的火花定时信息。安装在左凸轮轴后端的速度/定时环可以提供由传感器探测的信号格式,并被控制模块认读。控制模块根据这些传感器信号来决定发动机的速度并确定定时的位置。
集管气压传感器(负载传感器)
集管气压传感器为电子点火系统控制模块提供发动机负载信息。传感器连接到进气集管。控制模块对信息进行处理后确定发动机定时并对发动机进行诊断。
卡特彼勒柴油发动机性能参数
速度敏感定时图
用户可以基于发动机最大运转速度,根据速度敏感定时图参数来在6个定时图中选择一个(使用数字诊断工具)。用户必须根据发动机额定速度选择正确的定时图。该功能的特点是可以让几种不同的发动机使用同一个控制模块。这些定时图可以提供速度敏感定时,根据发动机速度的不同而使发动机获得更好的性能。定时图可以显示发动机不同速度(转/分)下的延迟程度,本节给出了所有的定时图。关于如何一步步的用数字诊断工具来选择特定的定时图的细节在SENR6413,电子故障诊断,G3500发动机部分。
卡特彼勒柴油发动机速度敏感定时图1
用于额定转速为1200转/分的发动机
|
速度敏感定时图1 | |
|
发动机转速(转/分) |
定时延迟程度(与初值比较) |
|
1200或更高 |
0 |
|
1150 |
1 |
|
1100 |
2 |
|
1050 |
3 |
|
1000 |
4 |
|
950 |
5 |
|
900或更低 |
6 |
卡特彼勒柴油发动机速度敏感定时图2
用于额定转速为1100转/分的发动机
|
速度敏感定时图2 | |
|
发动机转速(转/分) |
定时延迟程度(与初值比较) |
|
1100或更高 |
0 |
|
1050 |
1 |
|
1000 |
2 |
|
950 |
3 |
|
900 |
4 |
|
850 |
5 |
|
800或更低 |
6 |
卡特彼勒柴油发动机速度敏感定时图3
用于额定转速为1000转/分的发动机
|
速度敏感定时图3 | |
|
发动机转速(转/分) |
定时延迟程度(与初值比较) |
|
1000或更高 |
0 |
|
950 |
1 |
|
900 |
2 |
|
850 |
3 |
|
800 |
4 |
|
750 |
5 |
|
700或更低 |
6 |
卡特彼勒柴油发动机速度敏感定时图4
用于额定转速为1400转/分的发动机
|
速度敏感定时图4 | |
|
发动机转速(转/分) |
定时延迟程度(与初值比较) |
|
1400或更高 |
0 |
|
1350 |
1 |
|
1300 |
2 |
|
1250 |
3 |
|
1200 |
4 |
|
1150 |
5 |
|
1100或更低 |
6 |
卡特彼勒柴油发动机速度敏感定时图5
用于额定转速为1500转/分的发动机
|
速度敏感定时图5 | |
|
发动机转速(转/分) |
定时延迟程度(与初值比较) |
|
1500或更高 |
0 |
|
1450 |
1 |
|
1400 |
2 |
|
1350 |
3 |
|
1300 |
4 |
|
1250 |
5 |
|
1200或更低 |
6 |
卡特彼勒柴油发动机速度敏感定时图6
用于额定转速为1800转/分的发动机
|
速度敏感调定时图6 | |
|
发动机转速(转/分) |
定时延迟程度(与初值比较) |
|
1800或更高 |
0 |
|
1750 |
1 |
|
1700 |
2 |
|
1650 |
3 |
|
1600 |
4 |
|
1550 |
5 |
|
1500或更低 |
6 |
卡特彼勒柴油发动机负载定时图
负载定时图参数可以让用户使用或禁用负载敏感定时图。
可选择项有:
00=无负载敏感定时
01=真空提前负载敏感定时
02=真空延迟负载敏感定时
图02为默认设定,并且是唯一的通常被装备了电子点火系统的G3500发动机使用的调速图。
图00为禁用负载敏感定时功能(关闭进气集管压力传感器)。
,图01为在进气集管真空压力(绝对值)增加到50千帕(7.25磅/平方英寸)时,发动机的定时提前,且当进气集管压力达到100千帕(14.50磅/平方英寸)时,发动机定时延迟到0级。
图02为在进气集管真空压力(绝对值)增加到50千帕(7.25磅/平方英寸)时,延迟发动机定时,且当进气集管压力达到1000千帕(14.50磅/平方英寸)时,发动机定时提前到0级。
注:当压力超过100千帕(12.50磅/平方英寸)时,每个定时图中的负载敏感定时都保持在0级。
卡特彼勒柴油发动机预定定时参数
预定定时参数可以让用户用电子仪器来编辑电子点火系统的点火火花定时的程序以满足特定的需要/安装的需要。预定定时的编程需要使用电子诊断服务工具。预定定时数值可以在发动机运行或停止的时候进行变更。当发动机在额定速度下全负载运转时,输入作为预定定时的数值为点火定时。
注:由于发动机转速、爆燃或所使用燃料的不同,在给定范围内的精确点火定时可能会与预定定时数值有所差异。
预定定时的可编程范围为上静点位置前9.0到40.0度。如果使用丙烷作为燃料,且燃料选择开关(可选择)放在“丙烷”位置,定时的范围可以增加到上静点位置5.0到40.0度。
卡特彼勒柴油发动机监控和停机保护
G3500发动机可以被配置成三个系统中的一个来监控发动机参数并为发动机提供停机保护:接线盒(通电关闭)、接线盒(通电运转)以及一个控制面板(状态控制)。如欲获得关于操作、故障诊断和发动机控制面板设定的详细信息,请参看SENR6420,系统操作、测试和调节,G3500发动机(电子点火系统)远程控制面板(状态)。
接线盒

卡特彼勒柴油发动机接线盒(盒盖打开时)
(1)接线盒(2)接线条(3)量表(4)紧急停止开关
接线盒(1)的中间位置用来摆放用于发动机的各种量规、******、指示***和开关,同时它还包含摆放电子接线条(2)的空间,电子接线条作用是将传感***、拾波***以及继电***与量表(3)相连接。另外接线盒还可以为发动机提供停机保护。
在接线盒面板上有一个紧急停止按纽,当按下该按纽时,系统会切断燃料供应,发动机点火将被关闭(电子点火系统控制的停机开关接地被打开)。
如要重新起动发动机,紧急停止按纽必须被改变到突起的位置。
紧急停止按纽不是用作正常发动机停机的按纽。为避免可能对发动机造成损坏,请使用发动机控制开关进行正常的发动机停机卡特彼勒柴油发动机操作
如果接线盒被配置成通电运转或通电关闭状态,燃气关闭阀将被包含在发动机的安装中。在通电运转设置下,气体关闭阀必须保留使发动机能通电运转的能力。在最常用的通电关闭系统中,必须在气体关闭阀中设置一个机械(手动)插销。如果检测到有错误的存在,气体关闭阀将会打开阀门并起动一个两级关闭顺序。
接线盒可以用来监控发动机油压、冷却剂温度、起动发动机过速以及发动机过速状态。
注:如果接线盒监控到过速状况,或如果紧急停止按纽已被激活,这时继电器将通电,并开始切断向发动机供应的点火。
注:如果接线盒监控到发动机油压降低,或监测到冷却剂温度过高,继电器将会切断向发动机的燃料供应。
卡特彼勒柴油发动机起止面板

卡特彼勒柴油发动机起止面板
(1)指示灯(2)诊断重新设置纽(3)发动机控制开关(4)状态控制模块(5)紧急停止按纽
发动机起止面板包括发动机状态控制模块(4)、紧急停止按纽(5)、发动机控制开关(3)、诊断重新设置纽(2)和状态指示灯(1)。
卡特彼勒柴油发动机控制开关
控制面板上的发动机控制开关有四个位置——“自动、手动起动、冷却/停止、关闭/重新设置”。如果发动机控制开关在“自动”位置且接收到来自远程起动触点发出的运行信号,或发动机控制开关在“手动/起动”位置,发动机将开始转动曲柄、结束曲柄转动并开始运转。装备了电子调节器的发动机将开始在低空转速度下运转,直到润滑油压超过空转润滑油压设定点,这时状态控制模块的调节器中继器触点将闭合,发动机加速到额定速度。装备了油压机械调节器的发动机在曲柄停止运转后,迅速加速达到预先设定的速度。发动机将一直运转到发动机控制开关被调到“冷却/停止”、“关闭/重新设置”位置,或远程开始触点打开。如果已经使用数字诊断工具选择了冷却功能,则一旦发动机控制开关被移到“冷却/停止”位置,或者开关是在“自动”位置并接收到远程开关触点打开的信号,发动机将会在短时间内以低速率运转。如果并没有选择冷却功能,发动机将迅速停机。这时发动机能够迅速重新起动。
无论是在手动状态(通过发动机控制开关进行)还是在自动状态(通过发动机保护系统进行)下,在发动机将要被关闭时都会进行两级关闭顺序。首先,继电器切断气体关闭阀门,并关闭向发动机的燃料供应。在关闭顺序的第二步,通向发动机电子点火系统控制开关的接地将被打开。
卡特彼勒柴油发动机紧急停止按纽
紧急停止按纽位于发动机起止面板上。而当使用远程起止面板时,还会在发动机上加装第二个紧急停止按纽(接线盒)。当按纽被按下时,燃料供应被切断,发动机点火被关闭(电子点火系统控制开关的接地被打开)。
如果要重新起动发动机,紧急停止按纽必须被改变到突起的位置。
注意
紧急停止按纽不是用作正常发动机停机的按纽。为避免可能对发动机造成损坏,请使用发动机控制开关进行正常的发动机停机操作。
卡特彼勒柴油发动机燃料选择开关
燃料选择开关(可选择)是一个两档的开关,它可以向电子点火系统控制模块进行输入。可以在开关上进行两种选择,一个位置表示仅可以使用丙烷,另一个位置表示可以使用一些其他的燃料。因为丙烷的热量,使用“丙烷”位置可以向电子点火系统控制模块传输增加延迟定时范围的信号。
卡特彼勒柴油发动机状态控制模块

卡特彼勒柴油发动机状态控制模块
发动机状态控制模块用来监控发动机参数(油压、冷却机温度、发动机过速和起动发动机的过度裂化等),它还能提供发动机保护系统(两级关闭)和控制正常起动/停止的功能。当控制模块监测到一个错误信息时,显示屏将显示出表示相应的诊断码以协助进行故障诊断。状态控制模块包括一个继电器、接线条以及一个过速取样器。